Tag DCler,
wollte in meinem 1996er Cari in die beiden vorderen Seitentüren boxen reinsetzen.
Habe an 13er oder 16er gedacht, natürlich Coax!
Hab vorhin mal alle Schrauben der Beifahrertür gelöst und versucht diese zu demontieren, jedoch stellte sich das schwieriger als gedacht heraus.
Sind die Verkleidung noch verclipst? oder gibts einen Trick wie ich sie lösen kann? Kommt mir vor als würde irgendwas die dinger noch richtig festhalten!
Vll könnt ihr mir auch noch tipps geben, wie ich die kabelverlegen kann! Wollte sie einfach Parallel zu den 10er innenboxen legen ( die links vom lenkrad und Rechts vom Handschuhfach)
WiCk3d
1.6 GLX Türverkleidung - Kabelverlegen!
Thema bewerten
WiCk3d 07.06.2010, 11:10
- 0 Beobachter
- 0 Lesezeichen,
- 8320 Zugriffe,
Natürlich Coax?
Kauf dir lieber ein System mit Mittel und Höchtöner. Und nicht sowas....
Die hohen Frequenzen bringen dir am Bein nicht viel, allein wenn ich mich schon bisschen wegdrehe, merke ich, dass ich meine Hochtöner weniger höre. Wodurch der Klang leidet.
Beim Facelift sind noch Clips hinter der Verkleidung. Sollten bei dir auch sein, kanst die Türpappe vorsichtig nach vorne ziehen und dahinter gucken, wo welche sind. Hast auch die zwei langen Schrauben unten rasugeschraubt? Falls bei dir da welche sind.
Schmeiß die zwei zehner Boxen am besten raus und verleg die Kabel gleich in die Tür.
Kannst ja hier gucken wie man am besten Kabel in die Türen zieht.
Kauf dir lieber ein System mit Mittel und Höchtöner. Und nicht sowas....
Die hohen Frequenzen bringen dir am Bein nicht viel, allein wenn ich mich schon bisschen wegdrehe, merke ich, dass ich meine Hochtöner weniger höre. Wodurch der Klang leidet.
Beim Facelift sind noch Clips hinter der Verkleidung. Sollten bei dir auch sein, kanst die Türpappe vorsichtig nach vorne ziehen und dahinter gucken, wo welche sind. Hast auch die zwei langen Schrauben unten rasugeschraubt? Falls bei dir da welche sind.
Schmeiß die zwei zehner Boxen am besten raus und verleg die Kabel gleich in die Tür.
Kannst ja hier gucken wie man am besten Kabel in die Türen zieht.
0

Hab vor paar tagen extra neue Coax 10er Boxen gekauft von helix ._. werde die jetzt mal drinne lassen, die haben extra 2 Anschlüsse an den Boxen
ich werde die tage mal die Tür abmachen!

ich werde die tage mal die Tür abmachen!
0
ich glaub tür abbauen nur um boxen einzubauen is ein viel viel viel zu großer aufwand... verkleidung abmachen is da schon weniger stressig... zumal du für deine tür mindestens zwei leute brauchst...
0
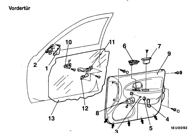
Im Anhang siehst du wie die Türverkleidung befestigt ist. Als erstes die ganzen Schrauben lösen, Griff abschrauben, Türöffner abschrauben und ggf. Fensterkurbel falls vorhanden abbauen.
Dann im unteren Bereich dran ziehen, dort ist die Verkleidung festgeclipst (schwarze Pfeile - siehe Bild).
Viel Erfolg!
Dann im unteren Bereich dran ziehen, dort ist die Verkleidung festgeclipst (schwarze Pfeile - siehe Bild).
Viel Erfolg!

Wenn du wirklich würde ich 16er Compo verbauen, denn ein Coax spielt nicht richtung Ohr an der Stelle.
Zudem ist die Öffnung schon für 16,5er Vorbereitet.
Hochtöner bauste dann in die Spiegeldreiecke und die Frequenzweiche klebste unter die Armlehne der Türpappe.
Die Pappe bzw. TVK ist geclippst und oben an der Scheibe stramm eingehangen mit Metallclips.
Also lösst alle schrauben unten an der Seite und der Griffmulde / Türöffner.
Dann hebelst vorsichtig die Pappe zu Dir so das alle Clips gelöst sind.
Danach mit bissel Gefühl hoch drücken am besten am Türpin und dann nach vorne weiter arbeiten.
Kabel würde ich wenn dann direkt am Radio anklemmen und die 10er orginalen raus werfen.
Befestigt bekommst die Tieftöner mit ner 16er MDF glaub ich war die dicke.
die kannst du schön zwischen TVK und Türblech schrauben und die Tieftöner schließen richtig schön ab und sitzen stabil an.
Zum Kabelverlegen musste Dich ienfach weiter einlesen, das ist schon oft beschrieben worden.
Die 10er Coax sitzen an einer undankbaren Position, da helfen auch Helix nix.
Der zweite anschluss ist auch nicht zum Brücken da, dadurch senkst du deine Impedanz und kannst dir dadurch dein Radio Schrotten.
Zudem ist die Öffnung schon für 16,5er Vorbereitet.
Hochtöner bauste dann in die Spiegeldreiecke und die Frequenzweiche klebste unter die Armlehne der Türpappe.
Die Pappe bzw. TVK ist geclippst und oben an der Scheibe stramm eingehangen mit Metallclips.
Also lösst alle schrauben unten an der Seite und der Griffmulde / Türöffner.
Dann hebelst vorsichtig die Pappe zu Dir so das alle Clips gelöst sind.
Danach mit bissel Gefühl hoch drücken am besten am Türpin und dann nach vorne weiter arbeiten.
Kabel würde ich wenn dann direkt am Radio anklemmen und die 10er orginalen raus werfen.
Befestigt bekommst die Tieftöner mit ner 16er MDF glaub ich war die dicke.
die kannst du schön zwischen TVK und Türblech schrauben und die Tieftöner schließen richtig schön ab und sitzen stabil an.
Zum Kabelverlegen musste Dich ienfach weiter einlesen, das ist schon oft beschrieben worden.
Die 10er Coax sitzen an einer undankbaren Position, da helfen auch Helix nix.
Der zweite anschluss ist auch nicht zum Brücken da, dadurch senkst du deine Impedanz und kannst dir dadurch dein Radio Schrotten.

0
Das heißt, wenn ich die ganzen Boxen durchschleife, ist der Schleifenimpedanzwiderstand zu hoch und ddas Radio kackt ab?
Nunja werde mal versuchen in die Innenseite der Tür durch die verkleidung boxen einzubauen! möglichst viel bass aber mit guter qualität! Hab hinten 17er Pioneers drinne und wie ich finde haben die ganz gut wums!
Hab jetzt halt keinen Verstärker und en Sub drinne!
Brauche ich eigentlich bei den 2 mehr boxen die jetzt reinkommen auch en neues Radio? wegen der leistung?
WiCk3d

Nunja werde mal versuchen in die Innenseite der Tür durch die verkleidung boxen einzubauen! möglichst viel bass aber mit guter qualität! Hab hinten 17er Pioneers drinne und wie ich finde haben die ganz gut wums!
Hab jetzt halt keinen Verstärker und en Sub drinne!
Brauche ich eigentlich bei den 2 mehr boxen die jetzt reinkommen auch en neues Radio? wegen der leistung?
WiCk3d
0
Dein Radio bringt maximal 10W Leistung, aller höchstens 15W.
Aber deine Parallelschaltung halbiert die Impedanz von 4 Ohm auf 2 Ohm.
Damit kommt nicht jedes Radio klar.
Du willst einfach nur die dünne Türpappe aufsägen und dort die Lautsprecher verbauen?
Aber deine Parallelschaltung halbiert die Impedanz von 4 Ohm auf 2 Ohm.
Damit kommt nicht jedes Radio klar.

Du willst einfach nur die dünne Türpappe aufsägen und dort die Lautsprecher verbauen?
0
Ganz genau xD so habe ich mir das gedacht...nur ist mir bei dieser variante ein problem aufgefallen. Das die ganze Pappe dann mit vibriert und der Sound halt scheppert :S
wollte natürlich die Türen noch mit Dämm material versehen!
Nur finde ich im Netz nix gescheites !
Hab übrigens das Pioneer DEH-1100MP Radio. weiß nicht ob das gut ist oder nicht ???
frage mich grade wie ich die Boxen anschließen soll, wenn ich diese nicht mit den 10er aus dem Innenraum parallelschalten soll?
wollte natürlich die Türen noch mit Dämm material versehen!
Nur finde ich im Netz nix gescheites !
Hab übrigens das Pioneer DEH-1100MP Radio. weiß nicht ob das gut ist oder nicht ???
frage mich grade wie ich die Boxen anschließen soll, wenn ich diese nicht mit den 10er aus dem Innenraum parallelschalten soll?
0
Deswegen hab ich ja geschrieben das du 16er MDF Platten zwischen Türblech und Türverkleidung schrauben sollst, dann kannst du da dran die Tiefmitteltöner befestigen.
Dämmung hab ich hier: ALB 2.2 von Exact für 85€ die 2,5m² Rolle.
Noch direkt an Stoßstellen und hinter die Lautsprecher dann PH-Schaum von Variotex und sollte reichen.
Dämmung hab ich hier: ALB 2.2 von Exact für 85€ die 2,5m² Rolle.
Noch direkt an Stoßstellen und hinter die Lautsprecher dann PH-Schaum von Variotex und sollte reichen.
0
Klingt gut
nur versteh ich teilweise nur Bahnhof
gibt's hier im Forum ein Tut?
so das nächste Problem bei mir sit nun die kabelverlegung
ich bin schon durch den Gummischlauch gekommen. Also Von Tür in Schlauch. Jetzt komm ich aber nicht vom anderen Ende des Schlauches in den Innenraum
Auch in diesem Thread finde ich keine Lösung --> http://www.dreamcarisma.de/viewtopic.php?t=7938&highlight=
Kann mir jemand helfen?
/E:
Komme leider an dem Gegenstück des weißen Steckers in der Karosserie nicht vorbei
kennt da jemand einen Trick? bin am verzweifeln 


so das nächste Problem bei mir sit nun die kabelverlegung


Auch in diesem Thread finde ich keine Lösung --> http://www.dreamcarisma.de/viewtopic.php?t=7938&highlight=
Kann mir jemand helfen?
/E:
Komme leider an dem Gegenstück des weißen Steckers in der Karosserie nicht vorbei


0
wenn wir schonmal wieder bei dem thema sind, hab ich auch eine frage an all die, die das schon gemacht haben.
kann mir das mit den hochtönern in den spiegeldreiecken nicht wirklich vorstellen. hab des ja alles schonmal zerlegt gehabt. glaube einfach nicht, das der platz da auslangt.
kann mir das mit den hochtönern in den spiegeldreiecken nicht wirklich vorstellen. hab des ja alles schonmal zerlegt gehabt. glaube einfach nicht, das der platz da auslangt.
0


Jersey01 hat am 08.06.2010, 11:12:Deswegen hab ich ja geschrieben das du 16er MDF Platten zwischen Türblech und Türverkleidung schrauben sollst, dann kannst du da dran die Tiefmitteltöner befestigen.
Dämmung hab ich hier: ALB 2.2 von Exact für 85€ die 2,5m² Rolle.
Noch direkt an Stoßstellen und hinter die Lautsprecher dann PH-Schaum von Variotex und sollte reichen.
Hi,
ist dieses PH-Zeug von Variotex wasserabweisend? Wenn ja wo kriegt man sowas her und was kostet sone matte? Oder gibts vergleichbare matten von anderen Herstellern?
0
HU: Alpine CDA-117Ri + PXA-H100
FS:
TMT: Focal 6W2 (utopia)
HT: A25G
Amp FS: Nakamichi PA-4100
Sub: AS X-ION 12 Plus
Amp Sub: Audio System F2-300
FS:
TMT: Focal 6W2 (utopia)
HT: A25G
Amp FS: Nakamichi PA-4100
Sub: AS X-ION 12 Plus
Amp Sub: Audio System F2-300
-
- KFZ-Geselle (1000+)
- 07.04.2009
- 25 Themen, 1013 Beiträge
- 2x erhalten, 0x gegeben
- Mitsu Carisma 1.8GDI
- 0 Bilder
Unterstützung: (*) Beitrage mit Links zu Amazon und Ebay sind Affililinks. Beim Kauf über diese Links, bekommt DreamCarisma eine Provision, ohne dass du dafür bezahlen musst.
-
Ähnliche Themen
Zurück zu 🎶 Car-Audio / Multimedia
Wer ist online
Mitglieder in diesem Forum: 0 Mitglieder und 0 Gäste
frei von sämtlichen G/G+ Regeln
frei von Viren und Bakterien
Kommunizieren ohne Mund-Nasen-Schutz
ohne Hände waschen, alle Seiten durchstöbern
frei von Viren und Bakterien
Kommunizieren ohne Mund-Nasen-Schutz
ohne Hände waschen, alle Seiten durchstöbern
Mindestabstand voll automatisch durch das Internet
mit mehr als nur einer Person online sein
keine Quarantäne, von überall erreichbar
und ganz wichtig, kein Toilettenpapier nötig.
mit mehr als nur einer Person online sein
keine Quarantäne, von überall erreichbar
und ganz wichtig, kein Toilettenpapier nötig.